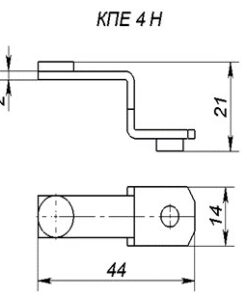
Контакти КПЕ(КПД) срібні – це високоякісні електротехнічні компоненти, призначені для забезпечення надійного та стабільного електричного з’єднання для контакторів у промислових умовах.Виготовлені з чистої міді, вони характеризуються відмінною електропровідністю та високою стійкістю до корозії, що забезпечує їх довговічність та ефективність. Напайки зі срібла збільшують термін використання контакторів. Такі контакти використовується окремо для кожного відповідного виду контакторів. Зазвичай такі контакти працюють у парі, доповнючи один одого.Контакти КПЕ(КПД) срібні доступні в різних розмірах, що дозволяє використовувати їх у широкому спектрі застосувань у різних галузях промисловості. Завдяки високоякісним матеріалам та точному виготовленню, ці контакти забезпечують надійність і тривалий термін служби ваших електротехнічних систем.
Контакт срібний КПЕ (КПД) 4 СН
Контакт срібний КПЕ (КПД) Срібний нерухомий



